Применение с компрессорами Bitzer
Bitzer не предлагает собственных устройств плавного пуска и поэтому может дать только общие рекомендации. Все компрессоры Bitzer с моторами, предназначенными для асинхронного пуска с прямым питанием от сети, могут работать с устройствами плавного пуска. Однако опыт показал, что с моторами LSPM преимущества комбинации с устройством плавного пуска очень ограничены по сравнению со стандартным асинхронным мотором. Кроме того, устройство плавного пуска необходимо тщательно отрегулировать, так как слишком низкое пусковое напряжение может помешать запуску LSPM мотора.
Тип устройства плавного пуска
Обычно предпочтительнее использовать 3-фазное устройство плавного пуска. Кроме того, чтобы избежать возможных проблем с устройством защиты компрессора по контролю направления вращения рекомендуется подключение по схеме «внутренний треугольник»: оно позволяет подключить контроль направления вращения к той стороне фаз, которая не контролируется устройством плавного пуска напрямую. При этом, устройство плавного пуска не должно включать контактор непосредственно управляемой фазы непосредственно или незадолго до запуска компрессора и немедленно выключаться, когда компрессор останавливается или возникает авария. В противном случае модуль будет неверно интерпретировать условия работы компрессора. Это может привести к неправильному управлению масляным электромагнитным клапаном, особенно в случае с открытым приводом и полугерметичными винтовыми компрессорами (с риском залива масла в компрессор) или к ошибочным отключениям.
Основываясь на опыте клиентов, BITZER постоянно совершенствует систему контроля направления вращения, чтобы сделать ее более надежной для различных устройств плавного пуска и вариантов конфигурации. Однако при возникновении ложных остановов и затруднений возможны индивидуальная реакция и адаптированная конфигурация, по крайней мере, для компрессорных модулей CM-SW, CM-RC и защитного устройства SE-i1. В этом случае обратитесь в BITZER.
Конфигурация устройства плавного пуска
Прежде всего, данные заводской таблички компрессора имеют решающее значение.
- Для герметичных и полугерметичных компрессоров, рассчитанных по макс. рабочему току (см. заводскую табличку) должно быть достаточным.
- Для открытых компрессоров, как показал опыт, для обеспечения безопасного пуска устройство плавного пуска должно быть значительно увеличено из-за необходимого конструктивного размера, соотв. высокому моменту инерции массы внешнего двигателя.
Многие устройства плавного пуска предлагают различные методы пуска и варианты конфигурации: от классического "voltage ramp" и "constant current control" до "current ramp", "torque control", "adaptive control" и специальных предварительных конфигураций для компрессоров, насосов или вентиляторов. Поскольку различные методы пуска, в свою очередь, требуют конфигурации различных дополнительных параметров, общая рекомендация практически невозможна. Если доступна предварительная конфигурация для компрессоров,то это зачастую дает хороший результат. В качестве альтернативы имеется хороший опыт работы с "voltage ramp".
Наиболее важными параметрами для настройки являются:
- Рамп напряжения/тока: Начальное напряжение устройства плавного пуска устанавливается в % от номинального напряжения или начальный ток устройства плавного пуска в % от номинального рабочего тока.. Хороший опыт показал прибл. 40%.
- Время рампа/разгона: Если время рампа слишком короткое, выходное напряжение растет быстрее, чем требуется для разгона компрессора. Излишне длительное время рампа может привести к сбоям в работе защитного устройства компрессора (контроль направления вращения) и проблемам с подачей масла и смазкой. Следует отметить, что мотор запускается как только он получает достаточный ток и не обязательно запускается в конце времени рампа.
- Для герметичных и полугерметичных компрессоров прибл. 3 s доказали надежность,
- с (большими) компрессорами с открытым приводом для надежного запуска требуется до 7 s.
- Ограничение то току в % от макс. рабочего тока: Для обеспечения безопасного пуска мотора его следует установить на мин. 300%, с компрессорами с открытым приводом на мин. 600%.
- Нет необходимости устанавливать время выбега, так как компрессор быстро останавливается сам по себе, когда он отключается из-за противодавления.
Если возможны подробные замеры в системе, устройство плавного пуска должно быть настроено на минимизацию амплитуды тока и времени до запуска мотора. Компрессор должен безопасно запускаться даже при неблагоприятных перепадах давления.
Если нет опыта в подборе устройств плавного пуска нужного типа, BITZER рекомендует обратиться за поддержкой к соответствующему производителю.
Для комбинации с устройствами защиты компрессора
BITZER рекомендует устройства защиты компрессора SE-G4, SE-i1 и модуль компрессора CM-SW для работы с устройствами плавного пуска..
- Поршневые компрессоры оснащены устройствами защиты компрессора без контроля направления вращения.
- Винтовые компрессоры: BITZER рекомендует защитное устройство SE-i1, особенно для больших винтовых компрессоров, которым может потребоваться более длительное время рампа, чем малым компрессорам, из-за их более высокой инерции. В случае затруднений с контролем направления вращения соответствующие аварии в SE-i1 могут быть отложены (после согласования) для обеспечения надежной работы компрессора. Это также возможно при использовании модуля компрессора CM-SW-01. Для устройств плавного пуска с подключением по схеме «внутри треугольника» не должно быть проблем, если контроль направления вращения подключен к стороне обмотки мотора, с подключением напрямую — в этом случае обычное защитное устройство, такое как SE-E4 также можно использовать.
- Спиральные компрессоры: Если требуется защитное устройство с контролем направления вращения и потери фазы, SE-G4 можно использовать с устройствами плавного пуска.
Больше информации:
- CT-120: Устройства защиты для компрессоров BITZER
Устройство защиты компрессора может выйти из строя после подачи слишком высокого напряжения. Возможная последующая неисправность: отказ компрессора.
Кабели и клеммы цепи контроля температуры не должны соприкасаться с управляющим или рабочим напряжением!
Сравнение пусковых токов
В качестве примера на следующих двух рисунках показаны пусковые токи для типичного CS. компрессора с устройством плавного пуска по сравнению с пуском по схеме звезда-треугольник. Пусковой ток, возникающий в результате использования устройства плавного пуска, может сильно различаться в зависимости от типа и конфигурации.
Пусковой ток, указанный в Bitzer Software является RMS значением (среднеквадратичное значение) тока. Чтобы получить его из осциллограммы, ток нужно разделить на √2.


Настройка в Best Software
При использовании компрессорных модулей CM-RC или CM-SW их необходимо интегрировать в соответствии со схемами подключения в Технической информации:
- KT-230: Техническая информация Модуль компрессора CM-RC-01 для поршневых компрессоров
- KT-231: Техническая информация Модуль компрессора CM-RC-01 для поршневых 8-ми цилиндровых компрессоров
- KT-240: Техническая информация Модуль компрессора CM-RC-02 для поршневых компрессоров
- ST-150: Модуль компрессора для винтовых компрессоров CM-SW-01
Методы пуска можно установить в Best Software:

Чтобы оптимально адаптировать контроль фаз к режиму пуска (преобразователь частоты или устройство плавного пуска) и избежать ложных отключений, режим пуска должен и может соотв. настраиваться в будущем также с SE-i1.
Схема подключения в клеммной коробке компрессора
ПРЕДУПРЕЖДЕНИЕ
Опасность поражения электрическим током!
Перед выполнением любых работ в клеммной коробке: Выключите главный выключатель и заблокируйте его от повторного включения!
Закройте клеммную коробку перед повторным включением!
В крышке клеммной коробки компрессоров BITZER на клейкой этикетке показаны возможные методы пуска и соответствующее подключение фаз сети к контактам мотора. Для пуска с помощью устройства плавного пуска (как и для прямого пуска от сети) может потребоваться установка входящих в комплект перемычек.
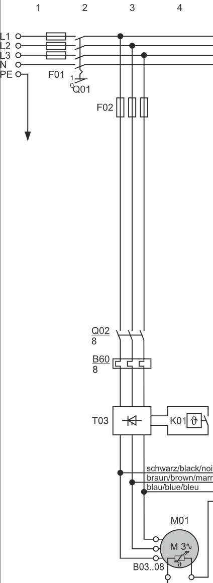
Принципиальные схемы подключения
На принципиальной схеме пуск с помощью устройства плавного пуска изображается, например, так:

T03: устройство плавного пуска
Q02: контактор компрессора
M01: мотор
Принципиальные схемы подключения компрессоров BITZER:
- AT-300: Принципиальные электрические схемы для оборудования BITZER
Моменты инерции масс для винтовых компрессоров
Моменты инерции масс важны для конфигурации устройства плавного пуска и могут быть запрошены производителями устройств плавного пуска.
Компрессор | Момент инерции массы [kg*m²] | |
|---|---|---|
ведущий ротор | ведомый ротор | |
OS. компрессоры | ||
OS8571 (с муфтой) | 0.122 | 0.023 |
OS8581 (с муфтой) | 0.138 | 0.023 |
OS8591 (с муфтой) | 0.222 | 0.035 |
OS9573 | 0.186 | 0.065 |
OS9583 | 0.204 | 0.076 |
OS9593 | 0.240 | 0.099 |
OS95103 | 0.263 | 0.112 |
CS. компрессоры (включая ротор) | ||
CS.6563 | 0.043 | 0.003 |
CS.7573 | 0.087 | 0.012 |
CSH7593 | 0.112 | 0.015 |
CSH8573 | 0.165 | 0.023 |
CSH8593 | 0.183 | 0.025 |
CSH9573 | 0.491 | 0.057 |
CSH9593 | 0.583 | 0.064 |
CS.95113 | 0.700 | 0.060 |
CSW10593 | 1.51 | 0.34 |
HS. компрессоры (включая ротор) | ||
HS.9573 | 0.520 | 0.066 |
HS.9583 | 0.586 | 0.076 |
HS.9593 | 0.631 | 0.103 |
HS.95103 | 0.690 | 0.115 |