OS.B85 Ergänzung Booster

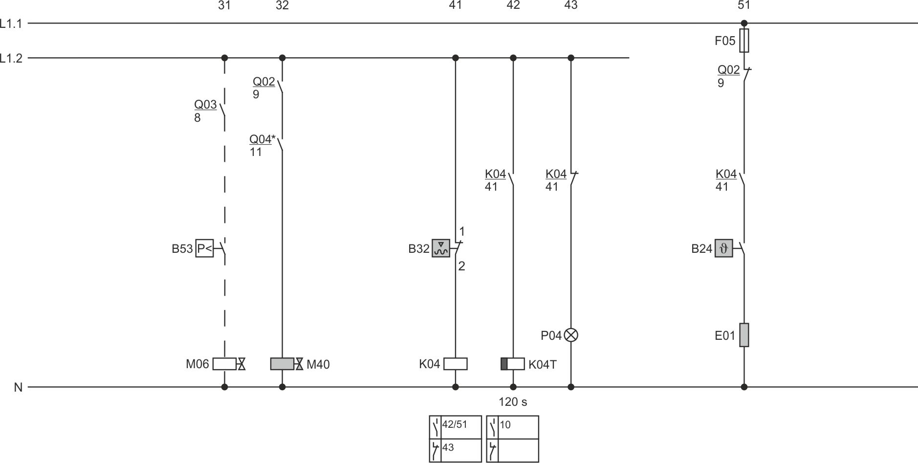
31: ECO-Betrieb, optional
32: Magnetventil in der Öleinspritzleitung
41 .. 43: Ölniveauüberwachung
51: Ölheizung
Letzte Bearbeitung des Bilds:
21.09.2022
Abk. | Bauteil |
|---|---|
B24 | Ölthermostat |
B32 | Ölniveauwächter am Ölabscheider |
B53 | ECO-Zuschaltung |
E01 | Ölheizung |
E02 | Anschlusskastenheizung |
F05 | Sicherung der Ölheizung |
K04 | Hilfsrelais für Ölüberwachung |
K04T | Zeitrelais für Ölniveauwächter |
M06 | MV für Economiser (ECO) |
M40 | MV in der Öleinspritzleitung |
P04 | Leuchte: Störung der Ölversorgung |
Q02 | Schütz für erste Teilwicklung (PW) oder Hauptschütz (Y/Δ) oder Verdichterschütz bei Direktanlauf |
Q03 | Schütz für zweite Teilwicklung (PW) oder Dreieckschütz (Y/Δ) |
Q04 | Sternschütz (Y/Δ) |
Weiterführende technische Dokumente: