Level monitoring OLC-D1-D
OLC-D1-D is an opto-electronic oil or liquid level monitoring using infrared light. It is mainly used for oil separators and pressure vessels and differs from the other types of OLC-D1 mainly by a different prism unit. It is mounted instead of a sight glass and consists of
- a prism unit and
- an opto-electronic unit (screwed into the prism unit, is integrated into the control of the system).

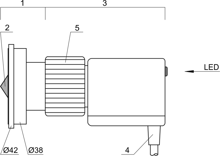
1: Prism unit (especially for OLC-D1-D)
2: Glass cone
3: Opto-electronic unit OLC-D1
4: Connection cable
5: Screwing cap



Variant | can be ordered as spare part assembly with part no. | Prism unit | Opto-electronic unit |
|---|---|---|---|
230 V | 347 950 01 | 361 828 01 | 347 949 01 |
115 V | 347 950 02 | 361 828 01 | 347 949 02 |
24 V | 347 950 04 | 361 828 01 | 347 949 04 |
If the oil level is to be checked via a sight glass in addition to the opto-electronic monitoring, a Rotalock T-piece must first be fitted in place of the sight glass to allow parallel installation of the oil level switch and the sight glass (can be ordered with part no. 365 433 56).
Examples for assemblies:


For details see
- AW-180: Oil level monitoring, mounting and electrical connection
and Data sheet of the opto-electronic unit. The mounting is also described in the respective Operating Instructions of the compressor / pressure vessel.